Правила форума


Форум ВРЕМЕННО ЗАКРЫТ для новых публикаций


Начать новую тему Ответить на тему  [ Сообщений: 37 ]  На страницу Пред.  1, 2, 3, 4  След.
Автор Сообщение
 Заголовок сообщения: Re: Двухтактник Bell Model 2418 на лампах 6v6
СообщениеДобавлено: 28 апр 2016, 11:23 
Не в сети
Аватара пользователя

Зарегистрирован: 04 дек 2009, 20:50
Сообщения: 6749
Cat Arnold писал(а):
Кондо, как и Сакуме, всё можно: и тетероды, и двухтакты, и обратные связи.


Кондо копал очень глубоко. Кто ещё из изготовителей двухтактников додумался подмагничивать выходные трансформаторы постоянным током??


"...Среди многочисленных факторов, влияющих на качество звука трансформатора, одним из важнейших является материал обмотки. Если сравнивать звук выходных трансформаторов однотактного и двухтактного усилителя, то в первом случае огибающая выходного сигнала чище и имеет меньше искажений. Рассматривая различные причины этой разницы, я выделяю одну, на которую никто до сих пор не обращал внимания. Я имею в виду наличие или отсутствие постоянного магнитного поля, возникающего при протекании постоянного тока через обмотку соответственно однотактного и двухтактного усилителей. Я думаю, это магнитное поле может усиливать различие звучания обмоток из разного материала. Другими словами, речь идет о взаимосвязи дополнительного магнитного поля с поведением электронов. Опыты показывают, что если вокруг обычного подковообразного магнита намотать катушки и подать звуковой сигнал, то степень изменения качества звука, обусловленная различием материала проволоки, будет большей, чем без магнита. Многочисленные эксперименты показали, что при использовании для обмотки серебряного провода звук претерпевает лишь небольшие изменения в зависимости от присутствия или отсутствия дополнительного магнитного поля. Медный же провод дает изме-нения в сторону получения “грубого” звука. Если применить серебряный провод в обычном трансформаторе, его звучание коренным образом преобразится. Теперь становится ясно: утверждения, что трансформатор якобы портит звук, просто беспочвенны. И этот факт нельзя отрицать лишь потому, что теория электричества до сих пор не может убедительно разъяснить суть взаимоотношений магнитного поля и серебра. Рано или поздно люди честно признают эту объективную реальность. В заключение лишь добавлю, что в своих двухтактных усилителях “Audio Note Japan” применяет подмагничивание сердечников выходных трансформаторов постоянным током. ..."


Вернуться к началу
 Профиль  
 
 Заголовок сообщения: Re: Двухтактник Bell Model 2418 на лампах 6v6
СообщениеДобавлено: 28 апр 2016, 12:03 
Не в сети
Аватара пользователя

Зарегистрирован: 04 дек 2009, 20:50
Сообщения: 6749
И ещё один вариант схемы Bell 2418


Вложения:


Вернуться к началу
 Профиль  
 
 Заголовок сообщения: Re: Двухтактник Bell Model 2418 на лампах 6v6
СообщениеДобавлено: 08 июл 2017, 12:43 
Не в сети
Аватара пользователя

Зарегистрирован: 04 дек 2009, 20:50
Сообщения: 6749
На примере Bell 2418 захотелось выяснить, что лучше дроссель или конденсатор после кенотрона.
Вначале перебрал несколько различных конденсаторов вместо штатного. Самый большой оказался самым интересным.
Но винтажной дроссель в 15 Генри победил все конденсаторы наповал . И это при том, что напряжение питания упало на 100 Вольт ( 250 вместо штатных 350)!

Ролик с штатным конденсатором
https://youtu.be/H59d7409g_Q

Ролик с дросселем после кенотрона
https://youtu.be/A8HhVrtADNk


Вложения:


Вернуться к началу
 Профиль  
 
 Заголовок сообщения: Re: Двухтактник Bell Model 2418 на лампах 6v6
СообщениеДобавлено: 08 июл 2017, 12:46 
Не в сети
Аватара пользователя

Зарегистрирован: 04 дек 2009, 20:50
Сообщения: 6749
А далее был LC Модуль после кенотрона, на котором упало всего 3 Вольта. И это было откровение от Bell. Все решает организация питания!

Поёт невероятная женщина.

И́ма Су́мак ( настоящее имя — Соила Аугуста Императрис Чаварри дель Кастильо) — перуанская и американская певица. Владела уникальным диапазоном почти в 5 октав. Пела на забытых языках.

https://youtu.be/B_J1s8djzyk


Вернуться к началу
 Профиль  
 
 Заголовок сообщения: Re: Двухтактник Bell Model 2418 на лампах 6v6
СообщениеДобавлено: 08 июл 2017, 14:31 
Не в сети
Аватара пользователя

Зарегистрирован: 16 сен 2014, 20:44
Сообщения: 1571
Сергей Ef писал(а):
А далее был LC Модуль после кенотрона, на котором упало всего 3 Вольта. И это было откровение от Bell. Все решает организация питания!

В любой LC модуль падает внешняя среда.
Поэтому по питанию яффект наиболее заметен. :lol:
А если это сделать обдуманно, то вааще...


Вернуться к началу
 Профиль  
 
 Заголовок сообщения: Re: Двухтактник Bell Model 2418 на лампах 6v6
СообщениеДобавлено: 08 июл 2017, 15:51 
Не в сети
Аватара пользователя

Зарегистрирован: 04 дек 2009, 20:50
Сообщения: 6749
Если обдуманно: Вчера была пятница, до среды ещё три дня


Вернуться к началу
 Профиль  
 
 Заголовок сообщения: Re: Двухтактник Bell Model 2418 на лампах 6v6
СообщениеДобавлено: 08 июл 2017, 18:35 
Не в сети
Аватара пользователя

Зарегистрирован: 04 дек 2009, 20:50
Сообщения: 6749
Анодное питание усилителя Border Patrol 300b - дроссель 50 Генри !!!


Вложения:

Вернуться к началу
 Профиль  
 
 Заголовок сообщения: Re: Двухтактник Bell Model 2418 на лампах 6v6
СообщениеДобавлено: 08 июл 2017, 19:18 
Не в сети
Аватара пользователя

Зарегистрирован: 16 сен 2014, 20:44
Сообщения: 1571
Последние ролики - очень сильно добавилось энергетики.


Вернуться к началу
 Профиль  
 
 Заголовок сообщения: Re: Двухтактник Bell Model 2418 на лампах 6v6
СообщениеДобавлено: 08 июл 2017, 19:36 
Не в сети
Аватара пользователя

Зарегистрирован: 04 дек 2009, 20:50
Сообщения: 6749
Пиня писал(а):
Последние ролики - очень сильно добавилось энергетики.

Вот, учись инженерному подходу. А программисты, они все колдуны. И программы у них глючные


Вернуться к началу
 Профиль  
 
 Заголовок сообщения: Re: Двухтактник Bell Model 2418 на лампах 6v6
СообщениеДобавлено: 17 сен 2018, 14:33 
Не в сети
Аватара пользователя

Зарегистрирован: 04 дек 2009, 20:50
Сообщения: 6749
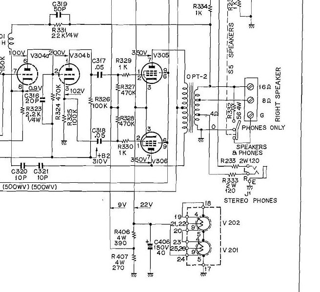
Схема Bell 2418, накал входных ламп запитан напряжением смещения выходных. Или наоборот :


Вложения:

Вернуться к началу
 Профиль  
 
Показать сообщения за:  Поле сортировки  
Начать новую тему Ответить на тему  [ Сообщений: 37 ]  На страницу Пред.  1, 2, 3, 4  След.


Кто сейчас на конференции

Сейчас этот форум просматривают: нет зарегистрированных пользователей и гости: 1


Вы не можете начинать темы
Вы не можете отвечать на сообщения
Вы не можете редактировать свои сообщения
Вы не можете удалять свои сообщения
Вы не можете добавлять вложения

Найти:
Перейти:  
cron
Powered by phpBB © 2000, 2002, 2005, 2007 phpBB Group
[ Time : 0.025s | 15 Queries | GZIP : Off ]