Правила форума


Форум ВРЕМЕННО ЗАКРЫТ для новых публикаций


Начать новую тему Ответить на тему  [ Сообщений: 23 ]  На страницу 1, 2, 3  След.
Автор Сообщение
 Заголовок сообщения: О катушках...
СообщениеДобавлено: 08 июл 2012, 19:15 
Не в сети
Аватара пользователя

Зарегистрирован: 05 дек 2009, 13:54
Сообщения: 4002
Давно хотел открыть неспешную ветку о катушках. Главным образом из-за того, что внимания им оказывается, как правило, мало, а играют они... Вот, собственно, и послушаем, как они играют..
Первый трек - запись, слепленного на скорую руку динамика. Одного динамика. Катушку я оставил "родную", алюминиевую, а верхний подвес максимально облегчил. Для чистоты эксперимента...
Клипинг, опять же, прощаем, по доброте душевной - никак не приспособлюсь к индикатору...

Вложение:
Катушка-диффузор Тест.mp3 [1.03 МБ]
Скачиваний: 400


Потом диффузор я снял и записал саму катушку. Треск там, понятно, списывается на отсутствие верхнего подвеса и вертикальной стабилизации, в связи с отсутствием диффузора...

Вложение:
Катушка без диффузора Тест.mp3 [2.16 МБ]
Скачиваний: 438


Вложения:



Вернуться к началу
 Профиль  
 
 Заголовок сообщения: Re: О катушках...
СообщениеДобавлено: 08 июл 2012, 19:29 
Не в сети
Аватара пользователя

Зарегистрирован: 04 дек 2009, 20:50
Сообщения: 6749
Катушка без диффузора не забирает.
С диффузором лучше)))


Вернуться к началу
 Профиль  
 
 Заголовок сообщения: Re: О катушках...
СообщениеДобавлено: 08 июл 2012, 20:18 
Не в сети
Аватара пользователя

Зарегистрирован: 05 дек 2009, 13:54
Сообщения: 4002
Занятно, что по амплитуде сигнал с диффузором и без оного, на голой катушке, - почти одинаковы. Это значит, что катушка играет в полный рост, хотя и не в полном диапазоне. А если учесть, что материал гильзы у нее резко отличается от материала диффузора, можно быть уверенными, что на стыке "петухи" будут гарантированы. Это, в свою очередь, значит, что, если нам не по нраву усиленное "Ч" в звуке, нужно делать специальную развязку стыка "диффузор-катушка". Задача эта, конечно, не здесь впервые поставлена. Каждый производитель решал ее в меру своих... Но, на мой вкус, не до конца, ни разу...


Вернуться к началу
 Профиль  
 
 Заголовок сообщения: Re: О катушках...
СообщениеДобавлено: 08 авг 2012, 17:31 
Не в сети
Аватара пользователя

Зарегистрирован: 05 дек 2009, 13:54
Сообщения: 4002
Попробовал свить вот такое гнездо, чтобы убрать "излишки" катушки. Приятно смягчило звук, не убив глубину и воздух.


Вложения:

Вернуться к началу
 Профиль  
 
 Заголовок сообщения: Re: О катушках...
СообщениеДобавлено: 17 сен 2012, 17:12 
Не в сети
Аватара пользователя

Зарегистрирован: 05 дек 2009, 13:54
Сообщения: 4002
Давно чесались руки намотать такую вот, максимально свободную, как девушка Востока...
Намотал. Посмотрим как запоет.


Вложения:

Вернуться к началу
 Профиль  
 
 Заголовок сообщения: Re: О катушках...
СообщениеДобавлено: 19 сен 2012, 15:44 
Не в сети
Аватара пользователя

Зарегистрирован: 05 дек 2009, 13:54
Сообщения: 4002
Ну вот, где-то так оно...


Вложения:



Вернуться к началу
 Профиль  
 
 Заголовок сообщения: Re: О катушках...
СообщениеДобавлено: 20 сен 2012, 17:53 
Не в сети

Зарегистрирован: 06 сен 2010, 13:02
Сообщения: 16
В сентябре 2005 года братья Burton & Alan Baab запантетовали подобное решение намотки звуковой катушки, они попытались объяснить принцип работы, интуитивно понятный, но идущий вразрез с современными представлениями физики, более того, они серийно выпускали динамики с такими катушками, ну и плюс всякие мелочи типа отсутствия центрирующей шайбы, двухзвенный, безрезонансный верхний подвес и всякие игры с магнитной системой.
Я в своё время пробовал подобный способ намотки и получил весьма обнадёживающие результаты.
Так что удачи! Вас ждёт приятная неожиданность - женщина Востока запоёт на удивление свободно.
Вложение:

Вложение:



Вернуться к началу
 Профиль  
 
 Заголовок сообщения: Re: О катушках...
СообщениеДобавлено: 20 сен 2012, 20:06 
Не в сети
Аватара пользователя

Зарегистрирован: 05 дек 2009, 13:54
Сообщения: 4002
Спасибо за информацию, Vonapets. Пороюсь в инете. Может быть, есть какие-нибудь ссылки? Это Ваша катушка на фото?


Вернуться к началу
 Профиль  
 
 Заголовок сообщения: Re: О катушках...
СообщениеДобавлено: 21 сен 2012, 08:54 
Не в сети

Зарегистрирован: 06 сен 2010, 13:02
Сообщения: 16
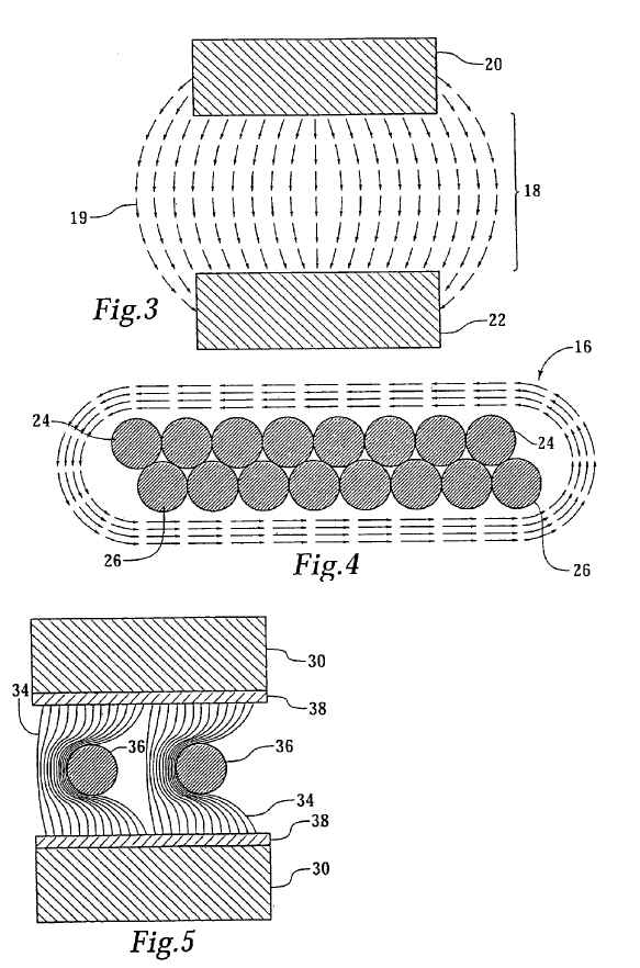
US 7,443,995 B2.
Да, это был банальный ремонт какой-то прошки - намотка на стеклотекстолите с двух сторон.
В своих конструкциях я применял намотку плоским проводом на ребро, разреженную в рабочем зазоре и вплотную за пределами зазора.
Вложение:



Вернуться к началу
 Профиль  
 
 Заголовок сообщения: Re: О катушках...
СообщениеДобавлено: 21 сен 2012, 12:48 
Не в сети
Аватара пользователя

Зарегистрирован: 05 дек 2009, 13:54
Сообщения: 4002
Красива. И что дает уплотнение по краям, кроме общетеоретического исправления неравномерности характеристик магнитного поля?


Вернуться к началу
 Профиль  
 
Показать сообщения за:  Поле сортировки  
Начать новую тему Ответить на тему  [ Сообщений: 23 ]  На страницу 1, 2, 3  След.


Кто сейчас на конференции

Сейчас этот форум просматривают: нет зарегистрированных пользователей и гости: 1


Вы не можете начинать темы
Вы не можете отвечать на сообщения
Вы не можете редактировать свои сообщения
Вы не можете удалять свои сообщения
Вы не можете добавлять вложения

Найти:
Перейти:  
cron
Powered by phpBB © 2000, 2002, 2005, 2007 phpBB Group
[ Time : 0.041s | 16 Queries | GZIP : Off ]